Airbus envisage de construire dans le futur des avions avec une cabine passagers détachable. L'objectif est d'accélérer l'embarquement/débarquement et permettre à l'avion de re-décoller dans les plus bref délais. Selon Wired, la demande de brevet d'Airbus a été approuvée mardi 24 octobre par les autorités américaines.
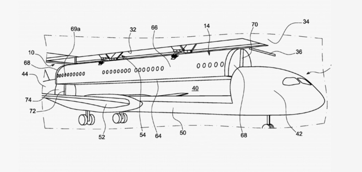
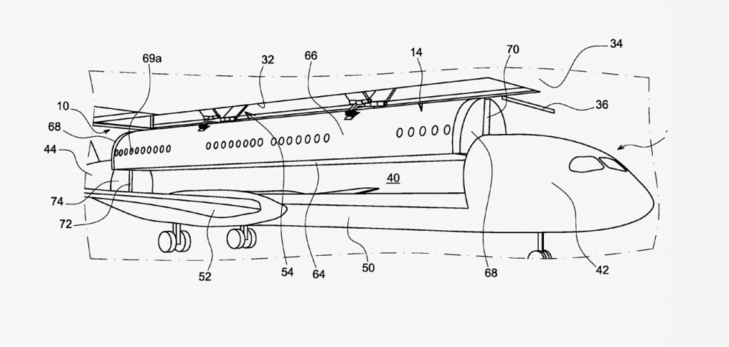
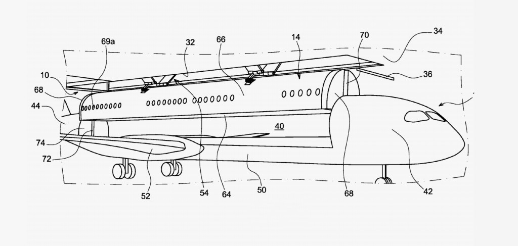
L'idée d'Airbus est de remplacer la partie supérieure du fuselage des avions par une cabine détachable. A l'arrivée, cette cabine serait remplacée par un autre module, où les passagers seraient déjà installés.
Pour Wired, il faudrait des milliards de dollars et plusieurs années de recherche pour construire un tel appareil. (source: Wired)
L'idée d'Airbus est de remplacer la partie supérieure du fuselage des avions par une cabine détachable. A l'arrivée, cette cabine serait remplacée par un autre module, où les passagers seraient déjà installés.
Pour Wired, il faudrait des milliards de dollars et plusieurs années de recherche pour construire un tel appareil. (source: Wired)


Envoyer
Imprimer
Grand
Petit









